Доступна новая версия сайта
Контрольно-счетная палата муниципального образования «Город Саратов»
Контрольно-счетная палата муниципального образования «Город Саратов»
Главная
О палате
Новости
Контакты
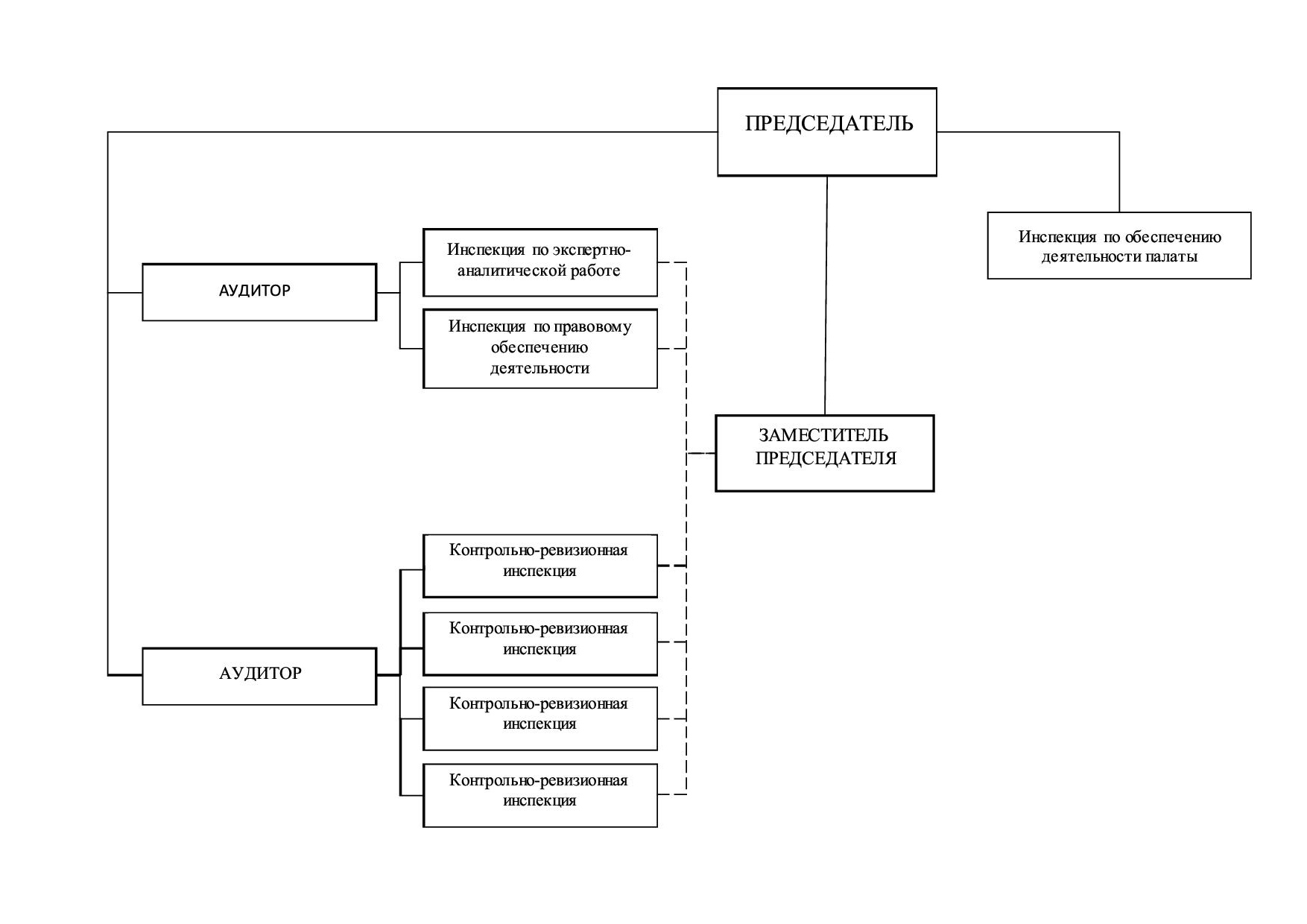
Структура и состав КСП
Председатель
Ульянова Марина Александровна
тел. приемной 27-99-91, факс 27-98-99
Заместитель председателя
Кудрявцева Ирина Александровна
Аудитор
Мудрак Марина Ивановна
Аудитор
Куприянова Светлана Вячеславовна